当前位置:首页 > 知产资源 > 正文
一种硼酸生产余热回收装置
【字体:                   分享到:

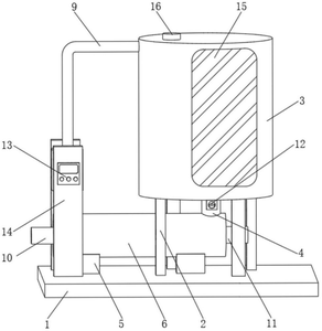
本实用新型涉及余热回收技术领域,且公开了一种硼酸生产余热回收装置,包括底板,硼酸反应罐的底部固定连接有余热通道入口,换热外壳的内部分别设置有余热管道和换热介质管道,换热介质管道的左侧固定连接有换热介质通道出口,换热介质管道的右侧固定连接有换热介质通道入口。本实用新型中,通过让高温的硼酸溶液进入到换热外壳内的余热管道内,与此同时换热介质在循环泵的驱动下进入换热介质管道内,让余热载体与换热介质进行充分的热交换,本实用新型通过在余热管道、换热外壳的进出口等关键部位设置有温度传感器和流量计,实时监测各部分的温度和流量数据,有异常可以通过控制器进行及时调节。

一种硼酸生产余热回收装置

 

Copyright ©2026   濮阳市知识产权公共服务平台 All Rights Reserved.