当前位置:首页 > 知产资源 > 正文
医药化工中间体用精馏塔
【字体:                   分享到:

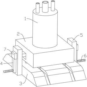
本实用新型涉及医药化工技术领域,公开了医药化工中间体用精馏塔,包括精馏塔本体,精馏塔本体的底部设底座,底座滑动设置在支撑座上;底座与支撑座之间设置第一定位固定组件和第二定位固定组件;第一定位固定组件和第二定位固定组件均既与底座滑动插接配合,又与支撑座滑动插接配合,第一定位固定组件和第二定位固定组件传动配合,用于推动第二定位固定组件滑动插入到底座和支撑座内;支撑座内安装动力组件,动力组件与第一定位固定组件传动连接,用于推动第一定位固定组件滑动插入到底座和支撑座内。本实用新型通过一个动力组件让第一定位固定组件与第二定位固定组件联动,就可实现对底座的定位固定,进而限制精馏塔本体上下、左右和前后移动。

医药化工中间体用精馏塔

Copyright ©2026   濮阳市知识产权公共服务平台 All Rights Reserved.