时间:2025-10-10 08:38:45
来源:
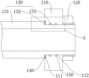
本申请提供一种管式换热器及冷却系统,涉及换热器技术领域。管式换热器包括换热管、弹性密封垫圈、管板和锁紧螺母,管板具有管孔,换热管的一端穿设于管孔,且换热管具有限位部,限位部朝向管板的一端设置有第一环形密封端面,第一环形密封端面沿换热管的周向延伸,管板具有与第一环形密封端面相对的第二环形密封端面,第二环形密封端面沿管孔的周向延伸,换热管套装有弹性密封垫圈,弹性密封垫圈被夹持于第一环形密封端面和第二环形密封端面之间,且换热管和锁紧螺母螺纹连接,锁紧螺母和管板背离限位部的一端抵接。本申请提供的管式换热器通过改进换热管和管板之间的连接方式,既能降低泄露概率,又便于清理换热管。